Microsoft Surface Duo tendrá una «cámara de clase mundial»

Microsoft Alemania invitó a desarrolladores y periodistas a un evento y asistió Panos Panay, Director de Producto de la compañía. Como puedes imaginar, hubo muchas preguntas sobre el Surface Duo. Panay no dio mucho, pero reveló que Microsoft está «trabajando en una cámara de clase mundial».

El prototipo que se mostró anteriormente presentaba solo una cámara selfie. También había una gran sangría redonda en la parte posterior, presumiblemente un marcador de posición donde iría el módulo de la cámara. Pero de nuevo, solo uno.




Hay un año completo entre ahora y el lanzamiento programado del Surface Duo, y mucho puede cambiar mientras tanto. Pero, ¿qué tan bueno puede encajar un módulo de cámara allí? Las dos mitades del dispositivo son bastante delgadas (y deben serlo, cuando las cierras obtienes el doble de grosor).

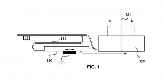
La compañía tiene una patente interesante que puede entrar en juego. Describe un grupo de lentes separado y un sensor de imagen que un actuador mueve a su posición cuando es necesario. Cuando no es necesario, el sensor se aleja y el módulo óptico entra en una «posición retraída». O tal vez Microsoft tiene otro plan para obtener una excelente calidad de imagen de un módulo de cámara delgada.




Acerca del autor
Deja una respuesta

Tu dirección de correo electrónico no será publicada. Los campos obligatorios están marcados con *

Este sitio usa Akismet para reducir el spam. Aprende cómo se procesan los datos de tus comentarios.